在雙碳戰略目標和背景下,煤炭在一次能源消費中的占比預計將從2020年的57%會下降至2030年的42%,作為碳排放大戶的火電企業面臨轉型的必然性,目前多家傳統電力公司紛紛借助穩定的現金流和龐大的資本積累進行風光裝機,轉型為新能源電力運營商將有望帶動其估值的重估。中證全指電力公用事業指數,截至2021年12月31日,指數中火電、水電、風電、核電、太陽能)發電的占比分別為33.5%、25.2%、15.7%、12.4%和12.0%,火電在其中的占比超過1/3。從傳統意義來說,水電、風電、核電、太陽能屬于綠色發電,這塊權重加起來達到65%,另外火力發電雖然占比達到33%,由于火力發電企業由于現金流較好,也在布局新能源發電,華能、華電、國電等傳統火電企業紛紛加大可再生能源裝機量,規劃到2025年實現清潔能源裝機占比目標,隨著火電企業新能源電力裝機規模持續增長,正在向新能源運營商轉型。所以,中證全指電力指數也可以理解成一個綠色電力的指數。
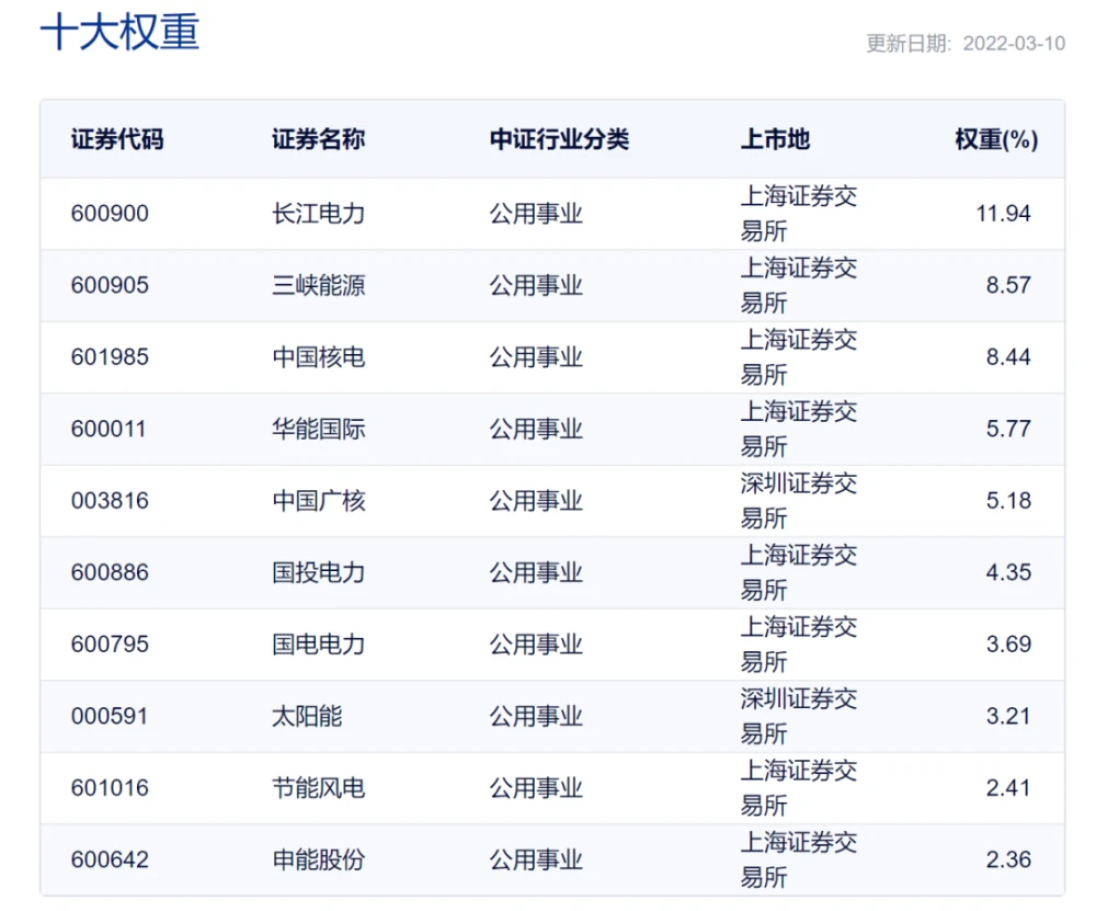
前十大成分股匯聚長江電力,三峽能源、中國核電、華能國際等電力龍頭企業。

01
能源保供和電力市場化改革下,傳統火電企業的盈利彈性得以提高
根據火電企業的成本和收入構成,傳統火電企業的核心成本為煤價及資產折舊費,其中資產折舊費比較穩定,煤價受大宗商品周期的影響波動較大;而收入端的核心影響因素為發電量與電價,其中發電量主要受裝機容量和利用小時數影響,電價逐步從政府定價向市場定價轉變。在能源保供的政策方向下,煤炭等大宗商品的漲價預期較弱,有利于降低火電企業的生產經營成本,而收入段的電力市場化改革又提升了電力企業的盈利天花板,成本和收入兩方面共同作用下,電力企業的盈利彈性得以放松。02
雙碳目標下,火電企業紛紛轉型為新能源電力運營商,有望帶來估值溢價
能源結構低碳化是實現“雙碳”目標的關鍵舉措,2021年10月以來,國家接連發布《中共中央、國務院關于完整準確全面貫徹新發展理念做好碳達峰碳中和工作的意見》、《2030年前碳達峰行動方案》等文件,化石能源占比下降和清潔能源占比提升是必然趨勢,在此背景下,傳統火電企業的轉型勢在必行。
從電力企業來看,“五大四小”發電集團持續加碼發展清潔能源,新能源發電收入逐步成為重要的收入來源。華能、華電、國電等傳統火電企業紛紛加大可再生能源裝機量,規劃到2025年實現清潔能源裝機占比目標,隨著火電企業新能源電力裝機規模持續增長,火電企業新能源資產重估已然在途。
03
相比純新能源運營商,傳統火電企業向綠電轉型有其自身優勢
資本金不足是新能源運營商面臨的關鍵問題之一,根據申萬宏源證券研究測算如果上市公司規劃利潤復合增速超過20%,就必須額外融資。火電+新能源平臺擁有龐大的火電資產,其傳統火電業務能提供充足的現金流,支撐新能源業務在不依賴股權融資的情況下實現高速增長。申萬宏源證券認為我國近期發文完善電力輔助服務市場,火電調峰價值獲得變現渠道,火電盈利能力進入上行周期具備確定性。除現金流支撐外,火電調峰還有望與新能源項目獲取掛鉤,保障火電轉型新能源的運營商獲得更高速的成長,這是純新能源運營商所不能比擬的。04
省間電力現貨交易規則發布,促進綠電交易
2021年11月,國家電網有限公司發布《省間電力現貨交易規則(試行)》,這是我國首個覆蓋所有省間范圍、所有電源類型的省間電力現貨交易規則。交易機制方面與跨區域現貨交易的異同點:①相同點:包括日前交易和日內交易,其中日前交易以15分鐘為一節點,全天共96個節點;繼續采用集中競價的出清方式,具體的流程包括雙向報價、集中撮合和邊際出清。②不同點:省間現貨交易的交易范圍與買方主體均有擴大,同時交易時序提前、頻次增加,交易機制更為完善。省間電力現貨交易機制的建立有以下幾個方面意義:首先,促進資源大范圍優化配置,推動構建以新能源為主體的新型電力系統:①交易范圍擴大,利于提升全網電力保供能力和資源互濟。②現貨市場交易機制可有效促進可再生能源消納。③省間電力現貨市場不僅有利于綠電交易規模的擴大,還將從邊際出清價格提高以及新能源消納需求提高兩個渠道提升綠電參與市場化交易的收益,有望進一步打開綠電量價齊升空間。其次,該機制將助力構建全空間、全周期、全品種的電力市場架構:隨著省間電力現貨交易規則的發布與實施,包含中長期、現貨的完整省間電力市場體系基本建立,“統一市場、兩級運作”的市場框架初步形成。省間市場定位于資源配置型市場,省內市場定位于平衡型市場,有著一定的交易時序。再次,跨區電力現貨交易可以有效緩解較高的棄風棄光率。2016年全國棄風、棄光、棄水問題十分嚴重,其中棄水電量50TW?h;棄風電量49.7TW?h,棄風率達17.2%;棄光電量7.4TW?h,棄光率達 10.3%。跨區電力現貨交易運行4年多以來,累計減少棄風、棄光、棄水電量超250億千瓦時。2021年上半年,全國水能利用率升至98.43%,風電平均利用率達到96.4%,光伏平均利用率為97.9%。
最后,該機制將促進西北地區可再生能源消納,支撐受端省份電力供應。跨區現貨交易成交的均為可再生能源電量。從實際成交來看,西北四省(甘肅、寧夏、青海和新疆)和四川省為主要送端省份,河南、浙江、上海和江蘇等為主要受端省份。從送端省份分析,跨區現貨交易促進了西北新能源消納。西北四省累計消納新能源電量17.6 TW?h,相當于節約標煤539萬噸,減少二氧化碳排放1495萬噸。從受端省份來看,跨區現貨交易有效支撐了高峰電力的有序供應。以浙江省為例,累計成交電量為3.165 TW?h,平均每年受入約800GW?h可再生能源電量,相當于2020年全省風電發電量的22%,最大電力達到3800MW。
圍繞雙碳目標,綠色電力的需要會越來越旺盛,對于綠色電力的相關指數產品,可以采用定投或者分批買入的投資策略。